Medidor de difusividad de gases en la interfase sólido-aire

Disponible

Descripción y características

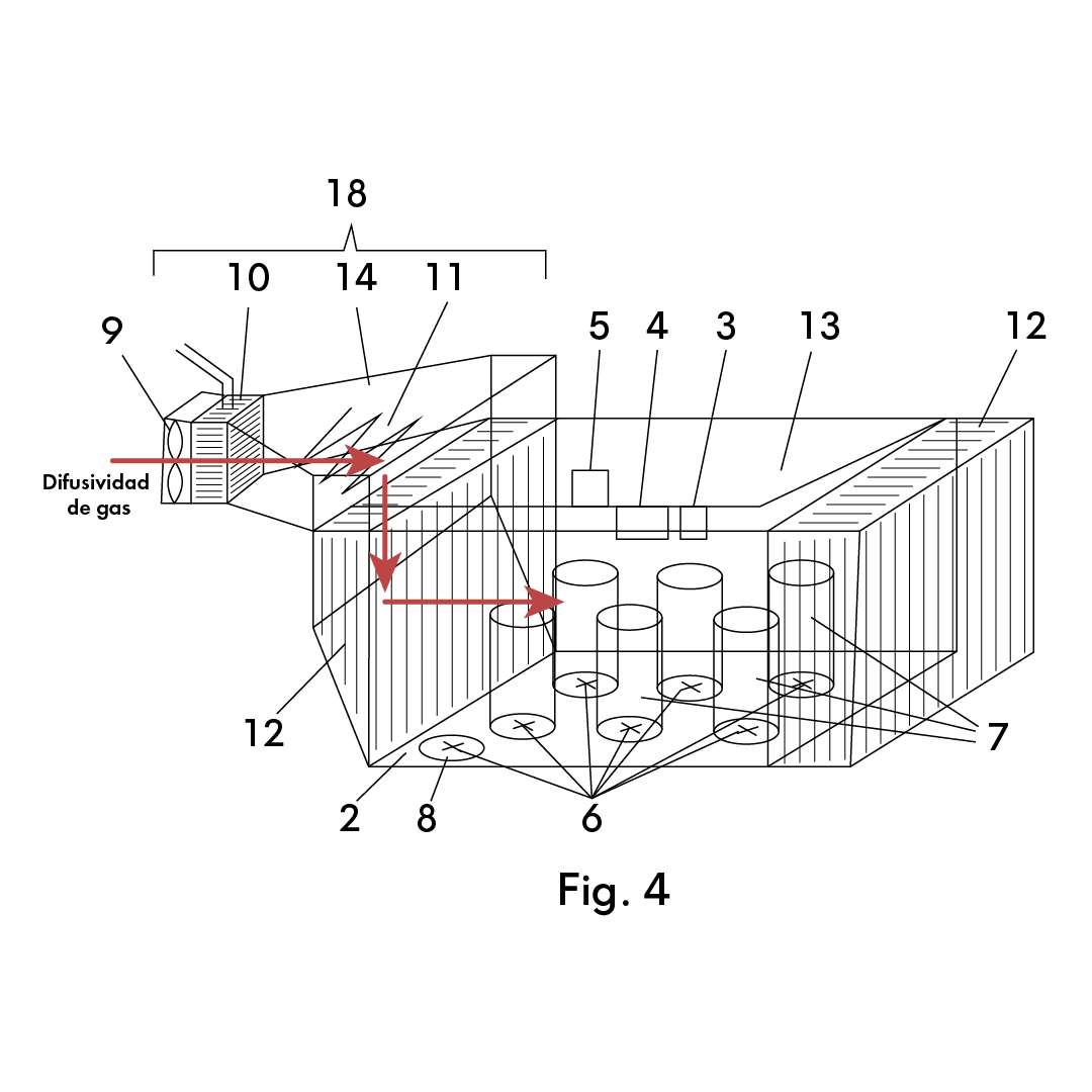
La invención describe un aparato medidor de transferencia de masa con una cámara térmicamente aislada y un dispositivo circulador de aire ajustable en velocidad, temperatura y humedad. Estos parámetros se verifican con sensores que incluyen uno o varios receptores de desecación con sensores de carga.

Aspectos innovadores y ventajas que ofrece

Mide y controla de manera precisa la transferencia de masa de sustancias en condiciones controladas.

Estado de la propiedad intelectual

Tipo de protección: Patente P202330957.

Titularidad: 

  • Escuela Superior Politécnica del Litoral - ESPOL.
  • Universidad Politécnica de Valencia. 

Área de aplicación/Empresa

  • Empresas agroindustriales y cooperativas agrícolas. 
  • Fabricantes de sistemas de almacenamiento y conservación de alimentos.
  • Productores de biocombustibles y bioenergía.

Unidad/es académica/s | Centro/s de investigación

  • Facultad de Ingeniería en Mecánica y Ciencias de la Producción - FIMCP

Investigador/es

  • Juan Peralta Jaramillo, Ph. D. (ESPOL).
  • Emérita Delgado Plaza, Ph. D. (ESPOL).
  • José Reinoso Tigre, Ing. (ESPOL).
  • Borja Velázquez Martí, Ph. D. (UPV).

Contacto

otri@espol.edu.ec

ODS a los que contribuye

https://cdn.espol.edu.ec/images/icons/ODS/ODS_vector_4.svg https://cdn.espol.edu.ec/images/icons/ODS/ODS_vector_9.svg https://cdn.espol.edu.ec/images/icons/ODS/ODS_vector_17.svg

Construyamos juntos el puente entre la investigación y el mercado. Súmate como aliado estratégico.

Tipo de resultado

Nueva tecnología

Tipo de protección

Patente de invención

Nivel de madurez tecnológica

Se prueban los elementos y los subsistemas en entorno real (campo, industria).

5

  • 9
  • 8
  • 7
  • 6
  • 5
  • 4
  • 3
  • 2
  • 1
Melina

¿Necesitas más información?

Concreta una reunión presencial con nosotros:

SVG
SVG